Укладка керамической и кафельной плитки, Облицовка пола, технология и способы
При выборе напольного покрытия необходимо руководствоваться не только красотой, но и практичностью, так как нагрузки на пол настолько велики, что не принимать их во внимание — большая ошибка. Именно из этих соображений плитка подходит для облицовки пола как никакой другой материал. Она не только красива, что очевидно и не подлежит сомнению, но и практична, поэтому ее охотно используют в качестве напольного покрытия, особенно в помещениях с повышенным содержанием воды и пара.
Для облицовки пола используют керамические, керамог-ранитовые, каменные и виниловые плитки, а также смальтовую мозаику.
Облицовка керамическими плитками.
Укладка керамической плитки, последовательность облицовочных работ:
1. Проверьте горизонтальность основания и правильность углов.
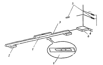
Горизонтальность основания проверяют длинной деревянной рейкой и строительным уровнем (рис. 11).
Для того чтобы убедиться в том, что пол и стены помещения взаимно перпендикулярны, необходимо по диагонали из противоположных углов натянуть 2 шнура, после чего измерить шнуры рулеткой.
Если длина шнуров — одинаковая, значит, углы не имеют отклонений, а стороны помещения равны. Производить разметку в таком помещении несложно и приятно.
Если же углы в помещении трудно назвать прямыми, а стороны имеют разные размеры, тогда придется делать евроремонт или пойти на определенные ухищрения, чтобы сделать данный недостаток незаметным. Например, выложить по периметру пола фриз, а между фризом и стеной — плитки основного фона.
2. Найдите точку отсчета облицовочных работ, куда вы положите первую плитку.

Рис. 11. Проверка горизонтальности основания:
1 — рейка;
2 — строительный уровень;
3 — подкладки.
Первый способ
Вам понадобятся 2 длинных деревянных рейки (или 2 шнура) и металлический угольник. Положите одну рейку (натяните шнур) вдоль стены, расположенной напротив входной двери, и в одном из углов помещения под прямым углом к рейке приставьте угольник. Вдоль второго катета угольника положите вторую рейку (натяните до противоположной стены шнур). Таким образом, вы получите 2 перпендикулярно пересекающиеся линии, которые необходимо отметить на полу карандашом или мелом. Точка пересечения перпендикуляров и есть искомая точка отсчета.
Второй способ
Точку отсчета можно найти и без подручных средств, используя лишь сухую керамическую плитку. Для этого от середины дверного проема до противоположной стены выложите один ряд сухих керамических плиток. Перпендикулярно ему, от стены к стене, выложите второй плиточный ряд. Откорректируйте положение обоих рядов таким образом, чтобы все плитки лежали вплотную друг к другу (без зазоров). Сделайте вдоль плиточных рядов отметки карандашом или мелом. Третью линию проведите вдоль стены параллельно первому ряду, а четвертую — вдоль стены, параллельной второму ряду. Точка отсчета облицовочных работ — это точка пересечения третьей и четвертой линии в дальнем от двери углу помещения.
3. Сделайте на стенах помещения отметки уровня чистого пола.
Для нахождения уровня чистого пола можно использовать гибкий уровень или обычный строительный уровень и длинную деревянную рейку.
4. Произведите разметку облицовочной поверхности пола с учетом размеров керамической плитки.
Для этого удобно использовать предварительно сделанную линейку-шаблон. Возьмите ровную и прямую деревянную рейку и выложите насухо вдоль нее ряд плиток. Отметьте на рейке расположение стыков между плитками, не забывая о ширине межплиточных швов (если они предусмотрены кладкой). Такой шаблон не только позволяет произвести разметку облицовочной поверхности, но и проконтролировать, сколько целых плиток помещается в одном ряду.
Разметку облицовочной поверхности производят с учетом размеров плитки и рисунка облицовочного покрытия. Количество целых плиток, укладываемых в один ряд, можно вычислить по формуле:
- П = А/(а + б), где:
- П-число целых плиток, шт;
- А-длина или ширина помещения, мм;
- а-размер плитки, мм;
- б-ширина шва между плитками, мм.
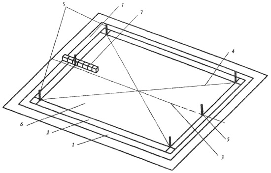
При устройстве фриза по периметру пола разметку производят с учетом ширины фриза и заделки — пристенного участка облицовочного покрытия, выполненного из плиток основного фона (рис. 12). Положение фриза планируют таким образом, чтобы число плиток в каждой фризовой полосе было целым! Заделка может быть выложена как из полномерных, так и из обрезанных плиток. На расстоянии, равном ширине фриза и заделки делают отметку внутреннего края фризового ряда. На месте внутренних вершин фриза вбивают гвозди (стальные штыри), между которыми по диагонали натягивают 2 шнура. После этого длину обеих диагоналей замеряют рулеткой и сравнивают. Если диагонали равны, значит, разметка произведена точно.
Так как стены и полы в типовых помещениях редко бывают ровными, вдоль стен лучше положить не целые, а обрезанные плитки. Тем самым вы не только визуально сгладите дефект строителей, но и облегчите себе облицовочные работы, так как не придется подравнивать крайние плитки. Предусмотрите, чтобы на открытых местах оказались полномерные плитки, а в малозаметных участках помещения можно положить и обрезанные плитки, а также некондицию (если не хватает плитки хорошего качества).
5. Установите маячные плитки.
Маячными плитками называются одиночные плитки или целые ряды плиток (при облицовке протяженных поверхностей), которые во время облицовочных работ служат ориентирами (рис. 13, фото 49, фр. В).
Маячные плитки, необходимые для облицовки пола, делятся на:- реперные — опорные плитки, укладываемые вдоль стен;
- провески — промежуточные плитки, используемые при облицовке большой площади (для контроля уровня облицовки);
- фризовые — плитки, укладываемые в углах фризовых полос (если они есть).
Реперные плитки по ходу облицовочных работ постоянно перемещают, каждый раз укладывая на уровне чистого пола. Провески также укладывают только на время облицовочных работ: по ходу укладки основной плитки их снимают. Расстояние между провесками составляет примерно 2 м. Фризовые плитки сразу устанавливают на постоянное место на уровне чистого пола.
Первой укладывают реперную плитку, по которой устанавливают промежуточные и фризовые маяки. При этом маяки укладывают чуть выше отметки чистого пола, после чего осаживают легкими ударами до нужного уровня. Положение маячных плиток проверяют двухметровой рейкой, на которую устанавливают строительный уровень (рис. 14).
Рис. 12. Разметка площадей под покрытие плиткой:
1-заделка;
2-фриз;
3-осевая линия;
4-диагональные шнуры;
5-гвозди (штыри);
6-основная площадь;
7-проверочная укладка.

Если укладка керамической плитки будет производиться на цементном растворе, то после установки маячных плиток основание обильно смачивают водой и оставляют на 5-6 часов. К началу облицовочных работ поверхность пола должна быть влажной. При укладке плитки на мастике или готовом синтетическом клее основание должно быть абсолютно сухим.
6. Произведите укладку керамической плитки.
Облицовочные работы начинают с точки отсчета, расположенной в дальнем от входа угле помещения. Облицовку ведут полосами или небольшими квадратами, двигаясь от самого дальнего угла к входу.
При наличии фриза укладку начинают с фриза, а точнее с 2-х смежных фризовых рядов (рис. 15). При этом все плитки фриза предварительно выкладывают насухо по причальному шнуру, натянутому между гвоздями, вбитыми во внутренних вершинах фриза. Примерно через каждые 20-25 плиток фриза делают промежуточные маяки. Одновременно с укладкой фриза через каждые 20-25 плиток выкладывают поперечные маячные полосы, после чего приступают к укладке основного фона облицовки. При облицовке большой поверхности работу ведут отдельными полосами (захватками) вдоль более длинных стен помещения.
При создании облицовки из шестигранных плиток (рис. 16) сначала выкладывают фриз и заделку. Фриз, как правило, делают из квадратных или прямоугольных плиток. Вдоль фризового ряда выкладывают заделочный ряд также из плиток четырехугольной формы. Только после этого приклеивают половинки многогранных плиток основного фона: они зададут направление облицовке. В углах кладут четвертинки шестигранных плиток. Укладку плиток основного фона ведут по той же технологии, что и укладку плиток стандартной формы.

Рис. 13. Установка маячных плиток:
1-реперная плитка;
2-маячные плитки;
3-продольный второй ряд плиток;
4-поперечный второй ряд плиток;
5-пристенный ряд;
6-шнур;
7-первый ряд плиток;
8-центральная плитка.

Рис. 14. Установка промежуточных маяков:
1-уровень;
2-опорный маяк;
3-рейка;
4-уровень чистого пола;
5-риски;
6-промежуточный маяк.
Если для облицовки используются восьмигранные плитки (рис. 17), то облицовочные работы также начинают с создания фризового и заделочного рядов, а между восьмигранными плитками основного фона оставляют промежутки, которые заполняют небольшими квадратными вкладышами. Вкладыши вставляют после укладки каждых 2-3 рядов восьмиугольных плиток. Вдоль фриза или заделки выкладывают ряд треугольных плиток — половинок квадратных вкладышей.
Для укладки напольной керамической плитки обычно используют цементно-песчаный раствор. Раствор наносят на подготовленное основание, но не на все целиком, а лишь на тот участок, который вы успеете выложить за 10 минут, пока раствор не успеет схватиться. Площадь такого участки соответствует приблизительно 1м2. При помощи прямого шпателя цементно-песчаный раствор наносят на основание слоем толщиной 3-5 мм (фото 49, фр. Б и Г), после чего разравнивают его гребенчатым шпателем. На большие поверхности раствор накладывают лопатой и разравнивают сначала граблями, а затем деревянным правилом.

Рис. 15. Укладка плиток:
1-маячные полосы;
2-опорный маяк;
3-угловой фризовый маяк;
4-полоса захвата;
5-промежуточный фризовый маяк;
6-угольник.

Рис. 16. Облицовка шестигранными плитками:
1-фризовый ряд;
2-заделка;
3-половинки четырехгранные;
4-половинки пятигранные;
5-стандартные шестигранные плитки;
6-шнуры-причалки;
7-маячные ряды.
Если напольная плитка имеет большую толщину или рельефную поверхность, то раствор следует нанести и на плитку тоже — слоем толщиной около 3 мм. При этом тыльную сторону керамической плитки увлажняют кистью или влажной ветошью.
Если на пути кладки вам попадутся препятствия в виде сантехнических приборов, труб и т.п., прежде чем приклеивать обрезанные плитки или фасонные детали, приложите их в сухом виде. Проверьте, что они действительно лежат на своем месте.
В подавляющем большинстве случаев керамические плитки укладывают на некотором расстоянии друг от друга таким образом, чтобы между ними получились ровные и красивые швы. Средняя ширина межплиточных швов — 2-3 мм. В помещениях с резкими перепадами температур толщину швов следует увеличить до 10 мм (это максимум). Обратите внимание, что чем толще межплиточные швы, тем больше должно быть процентное соотношение строительного песка в цементно-песчаном растворе. Для контроля ширины швов используют специальные крестовины(фото 49, фр. Ж и фото 43, фр. 3), которые сначала перпендикулярно вставляют между двумя плитками, а затем, когда вы промажете раствором все примыкающие плитки, целиком укладывают на облицовочную поверхность в углах соединения четырех плиток (параллельно полу). Швы между плитками цементным раствором не заполняют! При заполненных швах твердение прослойки между основанием и облицовочным покрытием происходит намного медленнее. Час спустя, когда раствор немного схватится, но еще не успеет приклеить крестовины.
Чтобы увеличить прочность сцепления плитки с цементно-песчаным раствором, только что уложенные плитки слегка осаживают деревянной или резиновой киянкой (фото 43, фр. Ж и фото 49, фр. Е). Киянку можно заменить кулаком или деревянным бруском. Удары не должны быть слишком сильные, чтобы не нарушить равномерность растворного слоя. Ровность облицовки проверяют правилом, уложенным на маячные плитки.
7. Покройте облицовку слоем опилок (необязательно).
8. Дайте время растворной прослойке просохнуть.
В случае использования цементно-песчаного раствора это, как правило, двое-трое суток; в крайнем случае, 24 часа (при температуре 20°С и относительной влажности воздуха 60 %). Если вы используете готовый клеящий состав, то время необходимой просушки можно узнать в инструкции. В условиях повышенной влажности или температурных отклонений от нормы срок просушки облицовки увеличивается.
По свежему облицовочному покрытию старайтесь не ходить! Если этого никак не избежать, тогда на облицовку необходимо положить широкую и тяжелую доску, по которой и следует передвигаться.
9. Произведите заделку швов между плитками. Межплиточные швы — это не просто элемент декора: они необходимы с технической точки зрения. Во-первых, швы позволяют сгладить отклонения в геометрических размерах плиток. Во-вторых, они компенсируют микродвижения облицовки в случае перепадов температуры. Межплиточные швы позволяют облицовке дышать без ущерба для ее внешнего вида.
К заполнению межплиточных швов приступают только после того, как полностью просохла растворная прослойка. Швы заделывают обычным цементно-песчаным раствором, эпоксидной затиркой или водостойким герметиком. Можно сразу приобрести затирку желаемого цвета либо добавить в имеющуюся затирочную смесь краситель (до ее разведения водой).
Затирка на основе цемента наносится с помощью резинового шпателя, резинового ножа, стеклотера или куска плотного картона, начиная с дальнего от входа угла помещения (фото 43, фр. Г и фото 49, фр. 3). Инструментом набирают небольшое количество затирки и под углом к облицовочной поверхности интенсивно втирают в шов. Излишки затирки забирают движением вдоль шва и используют для заполнения следующего шва. Чтобы межплиточные швы выглядели аккуратными и не возвышались над уровнем облицовочного покрытия, по ним проводят углом слегка закругленного шпателя, резиновым пальцем, правилом или влажным деревянным ножом. Обратите внимание, что швы между плитками напольного покрытия, в отличие от облицовки на стенах, не должны иметь вогнутую форму, чтобы в них не скапливалась грязь. После нанесения затирки, еще до ее высыхания, излишки смеси удаляют с поверхности облицовки мокрой губкой.
Эпоксидные затирки рекомендуется вводить в межплиточные швы при помощи специального шприца. Они не такие плотные и густые, как цементные смеси, поэтому легко набираются шприцем и выдавливаются из него непосредственно в зазор между плитками. Разравнивают затирку при помощи закругленного угла лопатки резинового шпателя. Необходимо следить за тем, чтобы излишки эпоксидной затирки не попали на зеркало облицовочной поверхности, так как удалить их будет весьма сложно. Вода в данном случае бесполезна: лучше эпоксидную затирку удалять сухой чистой тряпкой и сразу же после ее попадания на плитку. Засохшую затирку можно будет убрать только абразивами, которые способны повредить облицовочную поверхность.
При использовании светлой затирки или в помещении с высокой влажностью воздуха заполненные швы рекомендуется обработать специальной защитной пропиткой. Она не только предохранит швы от разрушающего действия влаги и грязи, но и придаст затирочной смеси благородный блеск. Пропитку наносят на швы при помощи кисточки.
10. Произведите окончательную отделку готового облицовочного покрытия.
Когда затирочная смесь схватится, облицовочную поверхность очищают ветошью, смоченной в 3-%-ом растворе соляной кислоты, после чего тщательно промывают губкой, смоченной в чистой воде. До этого времени по облицованному полу ходить не рекомендуется!
Диагональная облицовка.
Диагональную, или ромбовидную, облицовку, при которой плитки укладывают под углом 45 гр., как правило, делают в помещениях большого размера.
При диагональной кладке по периметру почти всегда делают фриз из треугольных плиток. Их положение определяет положение диагональных рядов основного фона облицовки.
Число треугольных плиток, необходимых для создания фриза, определяется по формуле:
n= i/(1,4а + 2Ь), где:- n-число треугольных плиток, шт;
- i-длина фриза, мм;
- а-сторона квадратной плитки, мм;
- b-ширина шва между плитками, мм;
- 1,4-коэффициент, учитывающий размер большей стороны треугольной плитки.
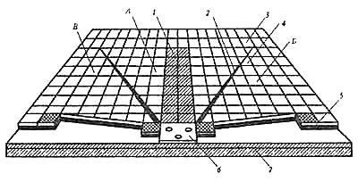
Разметку основания под диагональную облицовку производят так же, как и под облицовку прямыми рядами (рис. 18). Находят центральные поперечную и продольную оси помещения. Отмечают точку их пересечения. После этого насухо выкладывают фриз из треугольных плиток и, ориентируясь на него, производят разметку всей поверхности пола. Дальше, устанавливают маячные плитки. Укладывают фризовые плитки на раствор и приступают к укладке основного фона, начиная с одного или двух углов, наиболее удаленных от входа (рис. 19).
Облицовка в конверт (рис. 20).
Облицовка в конверт производится в том случае, когда пол сделан с небольшим уклоном для лучшего стока воды. Такие полы обычно делают в душевых помещениях.
Первым делом необходимо произвести разметку пола — отметить местоположение отверстия для стока воды (так называемого трапа) и отходящих от него под прямыми углами линий разруба.
Линии разруба образуют 4 треугольника, по которым и будет вестись укладка керамических плиток.
Облицовочные работы начинают с создания фризового ряда по периметру помещения. Фризовые плитки устанавливают без уклона. В треугольнике, расположенном напротив входа, по направлению к трапу и перпендикулярно фризу выкладывают маячный ряд. Перпендикулярность ряда по отношению к фризу проверяют металлическим угольником. Дальнейшую облицовку ведут по обычной технологии. При этом уклон пола изменяют за счет изменения толщины растворного слоя (с 7-15 до 40 мм). Вдоль линии разруба выкладывают обрезанные плитки. Завершив облицовку первого треугольника, приступают к облицовке треугольников, расположенных сбоку от него. Самым последним облицовывают треугольник, примыкающий к входной двери. В каждом треугольнике первым выкладывают маячный ряд по направлению к трапу.
Облицовка пола разными отделочными материалами.
В настоящее время очень популярен дизайнерский прием, для которого характерно напольное покрытие, выполненное из нескольких отделочных материалов, например, из паркета и керамической плитки или ламината и керамогранита. Данный прием позволяет произвести зонирование пространства, разграничив несколько функциональных зон, расположенных в одном помещении. В частности, на кухне большого размера можно при помощи разных отделочных материалов создать зону приготовления пищи, примыкающую к бытовым приборам и мойке, и зону приема пищи (столовую). И если для второй зоны вполне подойдет паркет или ламинат, то в зоне приготовления пищи лучше использовать влагостойкий, химически инертный и хорошо моющийся материал (виниловую или керамическую плитку).
Так как разные отделочные материалы обладают разными физическими свойствами и, в первую очередь, разным коэффициентом линейного теплового расширения, то на месте их стыка устраивают деформационный шов.
Деформационный шов заполняют раствором или мастикой, но перед этим границы обоих облицовочных покрытий укрепляют стальным или алюминиевым уголком (тавровым профилем). Уголки располагают таким образом, чтобы они образовали перевернутую букву Т. Облицовку выполняют заподлицо с выступающей частью металлического уголка.

Рис. 18. Разметка под диагональную укладку:
1-заделка;
2-продольная и поперечная ось;
3-угольник;
4-укладка плит насухо;
5-фриз;
6-стальные штыри;
7-разметочная рейка.

Рис. 19. Разметка под диагональную укладку:
1-шнур-причалка;
2,4-фризовый ряд;
3-треугольные плитки.

Рис. 20. Облицовка, в конверт:
А, Б, В-последовательность укладки плиток;
1-маячные ряды;
2-линии разруба;
3-фризовые ряды;
4-неполномерные плитки;
5-раствор;
6-решетка;
7-гидроизоляция.
Облицовка пола керамогранитовыми плитками (фото 44).
Основание под керамогранит должно быть идеально ровным! В противном случае вы не получите прочного напольного покрытия. Дело в том, что своим свойствам керамогранит близок к сантехническому фаянсу, то есть, несмотря на огромную механическую прочность, он хрупок и легко бьется. Если под керамогранитовой облицовкой имеются пустоты и воздушные карманы, то именно в этих местах она будет особенно уязвимой, вплоть до разрушения.
Керамогранитовые плитки приклеивают на специальные клеевые мастики или цементно-песчаный раствор. Не существует единого мнения, что лучше: цементный раствор или синтетический клей. Некоторые специалисты рекомендуют уличную плитку класть на специальные клеящие составы, предназначенные для керамогранита, а вот внутреннюю облицовку, где отсутствуют резкие перепады температуры, можно делать и на цементно-песчаном растворе.
Укладку керамогранитовых плиток производят по той же технологии, что и керамических. Во время работы керамогранитовые плитки должны быть сухими. По окончанию облицовки керамогранитовое покрытие следует протереть ветошью, смоченной в очистителе, чтобы удалить следы клеящего состава и декоративной затирки, прежде чем они успеют засохнуть. Кстати, прежде чем использовать цветную затирку, протестируйте ее на химическую совместимость на каком-нибудь ненужном керамогранитовом обломке.
Облицовка пола плитками из натурального камня (фото 9, 45-48).
Основание под каменную плитку должно быть прочным ровным и сухим. Идеальное основание — бетонное, но и над ним чаще всего приходится потрудиться. В помещениях с вы сокой влажностью воздуха основание необходимо обрабо тать гидроизолирующим средством. Облицовочные работы должна предварять сухая раскладка каменных плиток. В принципе сухая раскладка не помешает при любых видах облицовочных материалов, особенно когда поверхность собирается из плиток разного цвета или с использованием декоративных элементов. Но в данном случае сухая раскладка важна еще и по следующим причинам:
- Плитки из натурального камня редко имеют строгие reометрические размеры, и сухая кладка позволяет посмотреть, как будут стыковаться плитки между собой. Каждая плитка имеет свой неповторимый рисунок, по этому неплохо было бы увидеть облицовочное покрытие целиком до того, как вы его посадите на клей и ужаснетесь ко нечному результату многочасовых усилий.
- Сухая раскладка позволит подобрать каменные плитки в зависимости от их оптимального сочетания по цвету, тону и рисунку, что особен но важно для облицовки из пестроцветных горных пород.
При использовании каменных плиток большого размера их тыльную сторону рекомендуется надсечь при помощи молотка и зубила (для более прочного сцепления с клеевой прослойкой).
Последовательность облицовки пола плитками из натурального камня:
1. Произведите разметку пола с учетом формы и размеров имеющихся плиток.
2. Произведите укладку каменной плитки. Технология укладки плитки из натурального камня ничем не отличается от технологии укладки керамической плитки. При этом используются специальные смеси и клеящие растворы, предназначенные для работы именно с данным видом горной породы. Обратите внимание, что разные породы требуют разных составов, что обусловлено, в первую очередь, таким качеством камня как пористость. А по степени пористости горные породы делятся на 3 группы:
- слабопористые и плохо впитывающие влагу: это темный гранит, габбро, сланец, гнейс, кварцит;
- среднепористые и умеренно впитывающие влагу: светлый гранит, темный мрамор, песчаники;
- пористые и хорошо впитывающие влагу: белый мрамор, белый гранит, известняки, туф (травертин).
Слабопористые породы не боятся влаги, поэтому их можно укладывать практически на любой раствор, в том числе цементно-песчаный. Среднепористые породы предпочтительно укладывать на светлые растворы и клеящие составы, для приготовления и разведения которых требуется небольшое количество воды. Наконец, пористые породы кладут только на безводные светлые клеи и ни в коем случае на цементно-песчаный раствор. Высыхая, цементный раствор оставляет в порах такого камня цементную грязь, которая на светлом фоне особенно бросается в глаза, и избавиться от которой практически невозможно.
Клеящий состав наносят на тыльную сторону каменной плитки при помощи гребенчатого шпателя. Толщину клеевого слоя варьируют в зависимости от толщины плиток. Тыльную поверхность плит из светлого камня предварительно рекомендуется огрунтовать. Грунтовка предотвратит появление грязных пятен от клеящего состава на лицевой поверхности плитки. К тому же в клеящий состав для укладки белого камня специалисты рекомендуют добавлять известняковую или доломитово-трасовую муку. Она имеет такой же коэффициент линейного теплового расширения, что и сам камень, а потому намертво сцепляется с облицовочным материалом.
Ровность напольного покрытия постоянно проверяют при помощи деревянной рейки. Крестовины и прочие приспособления для контроля ширины стыков обычно не используют. Излишки клеящего раствора, попавшие на лицевую поверхность камня, сразу же удаляют чистой сухой тряпкой или ветошью, смоченной в специальном средстве. Плитки из камня с пористой фактурой очистить от раствора достаточно тяжело, особенно если он успел засохнуть или впитаться. Именно поэтому опытные облицовщики рекомендуют чистить лицевую поверхность каменных плит каждые 2 кв.м.
В работе со слоистыми породами (как сланец или плитняк-песчаник) добиться идеально ровной обливочной поверхности практически невозможно. Колебания в высоте между отдельными плитками могут достигать нескольких миллиметров. Чтобы сгладить сей недостаток и в то же время подчеркнуть природную красоту слоистой структуры камня, швы между плитками рекомендуется несколько увеличить. В результате вы получите облицовку, напоминающую старое доброе европейское мощение.
3. Оставьте облицовку до полного высыхания. Все это время по полу ходить не рекомендуется!
4. Произведите декоративную расшивку швов. Каменные плиты, по причине неточных геометрических размеров, в подавляющем большинстве случаев укладывают со швами. Так называемая бесшовная укладка также предполагает наличие между плитками швов, только их ширина не превышает 1 мм.
Спустя 10-30 минут после заполнения межплиточных швов, пока затирка еще не успела схватиться, швы заглаживают резиновым шпателем или малярной кистью. Когда затирка высохнет, швы окончательно обрабатывают слегка увлажненной кистью.
Иногда в швы между каменными плитками вставляют металлические раскладки. При этом рекомендуется использовать раскладки из достаточно мягких металлов, коэффициент истирания которых приближен к коэффициенту истирания горной породы. В дальнейшем, когда потребуется восстанавливающая полировка напольного покрытия, такие раскладки не создадут дополнительных проблем. Обычно для указанной цели используют раскладки из латуни.
5. Произведите заключительную отделку облицовочного покрытия.
Готовую каменную облицовку обычно обрабатывают специальными защитными составами, но прежде очищают от пыли, грязи и остатков клеящего раствора. Для очистки используют специальные средства — смывки, в состав которых не входят такие агрессивные вещества, как ацетон, растворители или сильные кислоты.
Если лицевая поверхность каменных плиток не обработана, ее необходимо покрыть специальным герметиком, мастикой или пропиткой-гидрофобизатором (особенно если плитка выполнена из мрамора, известняка, доломита или туфа). Данные средства не только защитят каменное покрытие от влаги и пятен, но и облегчат уход за ним в процессе эксплуатации. Иногда первый слой защитного средства наносят еще до начала облицовочных работ, а второй — после декоративной расшивки швов (когда высохнет затирка). Наносят защитное средство при помощи щетки, губки или пульверизатора.
После этого, дабы предотвратить образование царапин и сколов на каменной поверхности, напольное покрытие можно обработать воском (жидкой эмульсией или кремом). В дальнейшем каменные плитки рекомендуется время от времени покрывать воском, что позволит долго поддерживать облицовку из натурального камня в хорошем состоянии.
Американская укладка.
Американская укладка предполагает использование каменных плит с необработанной лицевой поверхностью, которая приводится в порядок на завершающем этапе облицовочных работ. Американским такой способ облицовки называется в большинстве европейских стран. У нас он часто фигурирует под названием европейская укладка или евроу-кладка. Некоторые называют такую укладку итальянской.
При американской укладке используют пиленные или грубо шлифованные плиты. Так как в дальнейшем их придется подвергать полировке, то не рекомендуется брать слишком твердые породы, плохо поддающиеся обработке. Следует отдать предпочтение легко обрабатываемым камням. Толщина плит не имеет большого значения, так как она будет выровнена при помощи полировальной машина.
Основание под каменные плиты должно быть прочным, ровным и сухим — это требование непререкаемо. Плиты укладывают на раствор, не обращая внимания на ровность облицовочного зеркала. Швы между плитами должны быть как можно тоньше. Их заполняют затиркой, близкой по цвету к камню. После полировки облицовочного покрытия швы становятся незаметными. Когда облицовочное покрытие будет готово, а раствор и затирка высохнут, можно приступать к полировке лица.
К американской укладке есть смысл прибегать при облицовке пола в больших помещениях с относительно простой геометрией. Так, где сможет развернуться полировальная машина. Все внутренние углы вам придется обрабатывать вручную, поэтому, чем их будет меньше, тем вам самим же будет легче. Точнее не вам, а мастеру, которого вы наймете для полировки каменной облицовки. Именно от квалификации и мастерства полировщика будет зависеть окончательный внешний вид вашего напольного покрытия. Кстати, невозможность представить себе, как будет выглядеть напольное покрытие в чистовом варианте, — именно то, что отпугивает заказчиков от американской укладки.
Облицовка слэбами.
Слэбы (слябы) — это крупногабаритные каменные плиты (фото 51). Площадь слэба может достигать 3-4 м2, а толщина превышать 3 см.
Последовательность облицовочных работ — такая же, как и в случае с малогабаритными каменными плитками: подготовка основания, подготовка отделочного материала, разметка пола, сухая раскладка, укладка на раствор, декоративная расшивка швов и заключительная отделка. В силу огромных габаритов слэбов их укладку ведут сразу несколько человек. И желательно, хотя бы один из них был бы профессионалом. Дело в том, что под собственным весом слэбы мгновенно схватываются с растворной прослойкой. Это значит, что укладывать их следует предельно точно и с первого раза, устраняя мельчайшие погрешности не отходя от кассы. Удалить неправильно уложенную или поврежденную в процессе работу плиту таких размеров практически невозможно, поэтому действовать надо не только быстро, но и максимально точно. Переносят слэбы при помощи специальных присосок.
Слэбы используют для создания напольного покрытия в помещениях большого размера прямоугольной или квадратной конфигурации. При облицовке помещения сложной конфигурации необходимо сделать предварительный эскиз, согласно которому произвести распил слэбов на плитки необходимого размера и требуемой конфигурации. При укладке плит необходимо учитывать их рисунок.
Одним из наиболее интересных декоративных приемов укладки слэбов является открытая книга — симметричная композиция, образованная из слэбов, последовательно распиленных друг за другом из одного каменного блока. При таком способе распила образуются плиты с одинаковым или очень похожим рисунком. Их укладывают рядом по две или по четыре, подобно книжному развороту.
Облицовка пола картами ковровой мозаики.
Для создания мозаичных полов, как ни для какого другого вида напольной облицовки, огромное значение имеет предварительное эскизирование, если только для облицовки не используются мозаичные плитки одного цвета. Если предусмотрен некий узор из мозаичных плиток разного цвета, тогда продумайте, каким образом будут стыковаться между собой соседние карты.
Перед началом облицовочных работ мозаику рекомендуется выложить на постоянном месте всухую. После этого ковровые карты сортируют по рисунку, чтобы удобнее их было использовать по ходу облицовочных работ. На бумажной основе по линиям стыков рекомендуется сделать сквозные отверстия, что предотвратит образование воздушных мешков.
Основание под мозаичные полы выравнивают, оштукатуривают и непосредственно перед началом облицовочных работ увлажняют.
Последовательность создания мозаичных полов:
1. Произведите разметку облицовочной поверхности (также как и под облицовку пола керамической плиткой стандартного размера).
2. Установите маячные плитки.
Временные маячные ряды из керамических плиток устанавливают вдоль боковых стен, если смотреть от входной двери.
3. Произведите укладку карт ковровой мозаики. Укладку мозаичных карт ведут продольными рядами от противоположной от входа стены, по направлению к входной двери. Первой укладывают коврик в дальнем левом угле и движутся слева направо. Второй ряд выкладывают в обратном направлении: справа налево и т.д. По ходу работы между временными маячными плитками, уложенными вдоль боковых стен, натягивают причальный шнур (рис. 21). По мере приклеивания карт ковровой мозаики маячные плитки вдоль стен убирают и вместо них укладывают предварительно подогнанные мозаичные коврики.
Цементно-песчаный раствор наносят тонким слоем на небольшой участок увлажненного основания. Перед укладкой ковровых карт раствор рекомендуется припорошить через сито сухим цементом, что обеспечит более прочное сцепление; мозаичных плиток с основанием.

Рис. 21. Укладка мозаичных карт:
1-штыри;
2-уложенные карты;
3-причальный шнур;
4-маячные ряды.
